EXPAND MENU COLLAPSE MENU

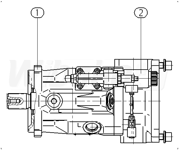
LA10VO60ED73/52L+LA10VO45ED73/52L (R902427194)
AXIAL-PISTON PUMP (115429)

AXIAL-PISTON PUMP
(115429)

 
1

BASE UNIT
(115430)

Group »

 
2

CONTROL VALVE
(19851)

Group »

 

Return

The above diagrams belong to Rexroth www.boschrexroth.com
DID YOU NOTICE AN ERROR? REPORT »
DID YOU NOTICE AN ERROR? REPORT
×

The error was sent. Thank you.