EXPAND MENU COLLAPSE MENU

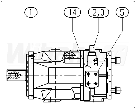
A A10VSO140 DFR1/31R-PPB12K07 -SO355 (R902403061)

Axial piston variable pump A10VS, swashplate design, open circuit, nominal pressure 280 bar, maximum pressure 350 bar. Series 31. Geometric displacement 140 cm3. Pressure controller with flow controller, hydraulic, X-T plugged with flushing function. DEUTSCH - molded connector, 2-pin, without suppressor diode.
1

BASE UNIT
(133012)

Group »

 
2

CONTROL VALVE
(122009)

Group »

 
3

CONTROL VALVE
(117207)

Group »

 
5

SOCKET HEAD CAP SCREW
(15901)

 
14

SCREW PLUG
(10015)

 
70

SHIPPING PROTECTION
(19932)

 
71

SHIPPING PROTECTION
(19933)

 
72

SEAL SCREW
(15757)

 
73

SEAL SCREW
(15631)

 
74

FLANGE COVER
(30995)

 
75

NAMEPLATE
(15166)

 

Return

The above diagrams belong to Rexroth www.boschrexroth.com
DID YOU NOTICE AN ERROR? REPORT »
DID YOU NOTICE AN ERROR? REPORT
×

The error was sent. Thank you.