EXPAND MENU COLLAPSE MENU

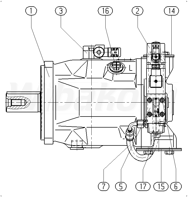
A A10VSO140 FE1 /31R-PPB12N00 -SO479 (R902436329)

Axial piston variable pump A10VS, swashplate design, open circuit, nominal pressure 280 bar, maximum pressure 350 bar. Series 31. Geometric displacement 140 cm3. DEUTSCH - molded connector, 2-pin, without suppressor diode.
1

BASE UNIT
(160208)

Group »

 
2

PROPORTIONAL DIRECTIONAL VALVE
(107552)

Group »

 
3

INDUCTIVE POS.TRANSDUCER
(83746)

Group »

 
5

INTERMEDIATE PLATE
(110575)

Group »

 
6

SOCKET HEAD CAP SCREW
(61153)

 
7

HOSE ASSEMBLY
(121509)

Group »

 
14

FLANGE COVER
(15525)

 
15

FLANGE COVER
(19927)

 
16

SEAL SCREW
(15757)

 
17

GUARD PLUG
(21015)

 

Return

The above diagrams belong to Rexroth www.boschrexroth.com
DID YOU NOTICE AN ERROR? REPORT »
DID YOU NOTICE AN ERROR? REPORT
×

The error was sent. Thank you.