EXPAND MENU COLLAPSE MENU

A4VG125EP2/31+A4VG125EP2/31 (R909600756)
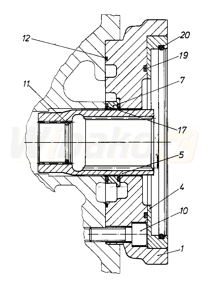
BELL HOUSING (53507)

BELL HOUSING
(53507)

 
1

INTERMEDIATE FLANGE
(54021)

 
4

INTERMEDIATE RING
(13398)

 
5

THROUGH DRIVE COUPLING
(54072)

 
7

SEAL RING
(54073)

 
10

SOCKET HEAD CAP SCREW
(11166)

 
11

SNAP RING
(13402)

 
12

O-RING
(53898)

 
17

O-RING
(15295)

 
19

O-RING
(10254)

 
20

O-RING
(26346)

 

Return

The above diagrams belong to Rexroth www.boschrexroth.com
DID YOU NOTICE AN ERROR? REPORT »
DID YOU NOTICE AN ERROR? REPORT
×

The error was sent. Thank you.