EXPAND MENU COLLAPSE MENU

AA4VG90HD3D1/32L-NSF52F071D-S (R902249557)
INTERNAL GEAR PUMP (63030)

INTERNAL GEAR PUMP
(63030)

 
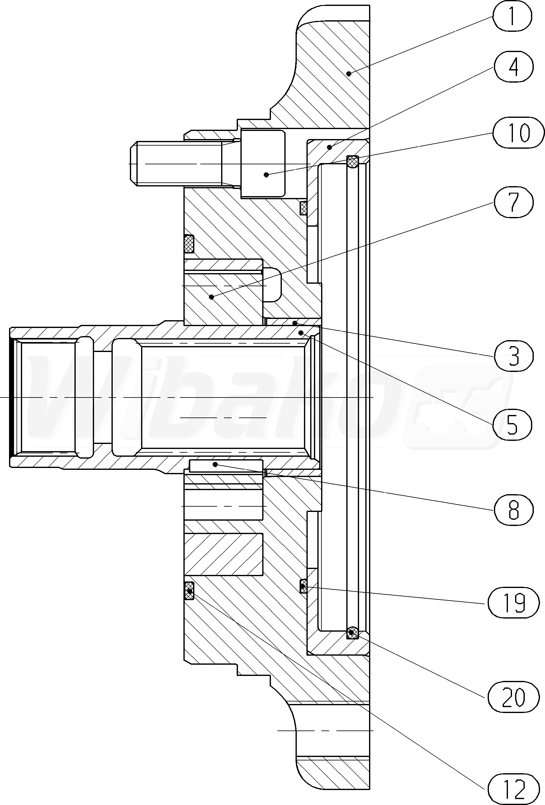
1

INTERMEDIATE FLANGE
(63053)

 
3

BUSHING
(19095)

 
4

INTERMEDIATE RING
(12932)

 
5

THROUGH DRIVE SHAFT
(44081)

 
7

WHEEL SET
(12798)

 
8

PARALLEL KEY
(12799)

 
10

SOCKET HEAD CAP SCREW
(10164)

 
12

O-RING
(10461)

 
19

BURL SEAL RING
(26157)

 
20

O-RING
(12936)

 

Return

The above diagrams belong to Rexroth www.boschrexroth.com
DID YOU NOTICE AN ERROR? REPORT »
DID YOU NOTICE AN ERROR? REPORT
×

The error was sent. Thank you.