EXPAND MENU COLLAPSE MENU

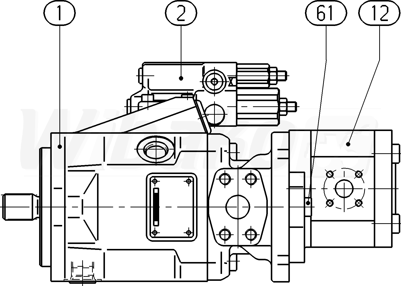
A A10V O 28 DFR /52L-VSC12G40 -S1047 (R902495627)

Axial piston variable pump A10VO, swashplate design, open circuit, nominal pressure 250 bar, maximum pressure 315 bar. Series 52. Geometric displacement 28 cm3. Pressure controller with flow controller, hydraulic, X-T open. Directions of rotation: counter-clockwise (viewed on drive shaft). Seal: FKM (fluoroelastomer). Splined shaft ISO 3019-1, standard. Mounting flange ISO 3019-1 (SAE) 2-hole. SAE flange ports, fastening thread metric, laterally opposite, for through drive.
1

BASE UNIT
(108736)

Group »

 
2

CONTROL VALVE
(24209)

Group »

 
12

HYDRAULIC GEAR PUMP

 
61

SOCKET HEAD CAP SCREW
(14121)

 

Return

The above diagrams belong to Rexroth www.boschrexroth.com
DID YOU NOTICE AN ERROR? REPORT »
DID YOU NOTICE AN ERROR? REPORT
×

The error was sent. Thank you.