EXPAND MENU COLLAPSE MENU

AA10VO45DFLR/31L-PSC12K01-SO200 (R902416051)

Axial piston variable pump A10V, swashplate design, open circuit, nominal pressure 280 bar, maximum pressure 350 bar. Series 31. Geometric displacement 45 cm3. Pressure-flow power control. Drive splined shaft ANSI B92.1a. Mounting flange ISO 3019-1 (SAE) 2-hole. SAE flange ports according to J518. Working ports metric. Fastening thread metric; lateral top bottom for through drive. Through drive. Flange ISO 3019-1 82-2 (A). Hub for splined shaft 5/8 in 9T 16/32DP.
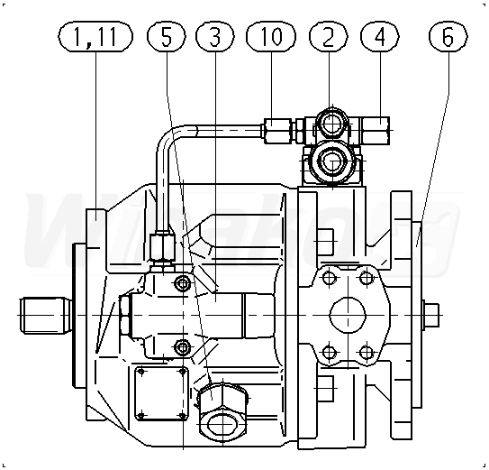
1

BASE UNIT
(110571)

Group »

 
2

CONTROL VALVE
(14674)

Group »

 
3

CONTROL VALVE
(13212)

Group »

 
4

ADAPTER
(15740)

Group »

 
5

ADAPTER
(14534)

Group »

 
6

SEALING COVER
(19873)

Group »

 
10

PIPING
(15741)

Group »

 
11

POWER DIAGRAM
(110588)

 

Return

The above diagrams belong to Rexroth www.boschrexroth.com
DID YOU NOTICE AN ERROR? REPORT »
DID YOU NOTICE AN ERROR? REPORT
×

The error was sent. Thank you.