EXPAND MENU COLLAPSE MENU

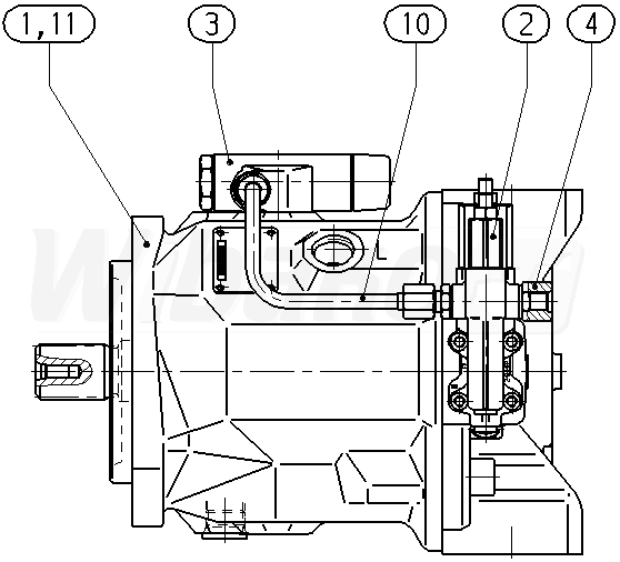
A A10V O 45 DFLR/31R-VSC62N00 (R902464620)

Axial piston variable pump A10V, swashplate design, open circuit, nominal pressure 280 bar, maximum pressure 350 bar. Series 31. Geometric displacement 45 cm3. Pressure-flow power control. Sealing material: FKM (fluoroelastomer). Drive splined shaft ANSI B92.1a. Mounting flange ISO 3019-1 (SAE) 2-hole. SAE flange ports according to J518 Working ports UNF. Fastening thread UNF; lateral top bottom, for through drive. Without through drive.
1

BASE UNIT
(111213)

Group »

 
2

CONTROL VALVE
(14674)

Group »

 
3

CONTROL VALVE
(13212)

Group »

 
4

ADAPTER
(18034)

Group »

 
10

PIPING
(13215)

Group »

 
11

POWER DIAGRAM
(111214)

 

Return

The above diagrams belong to Rexroth www.boschrexroth.com
DID YOU NOTICE AN ERROR? REPORT »
DID YOU NOTICE AN ERROR? REPORT
×

The error was sent. Thank you.