EXPAND MENU COLLAPSE MENU

A A10V O 45 DG /31R-VSC62N00 -SO511 (R902482390)

Axial piston variable pump A10V, swashplate design, open circuit, nominal pressure 280 bar, maximum pressure 350 bar. Series 31. Geometric displacement 45 cm3. Two-point control, direct operated. Sealing material: FKM (fluoroelastomer). Drive splined shaft ANSI B92.1a. Mounting flange ISO 3019-1 (SAE) 2-hole. SAE flange ports according to J518 Working ports UNF. Fastening thread UNF; lateral top bottom, for through drive. Without through drive.
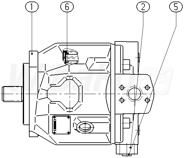
1

BASE UNIT
(22574)

Group »

 
2

PLATE
(37046)

Group »

 
6

SIDE MARKER RING
(112782)

 

Return

The above diagrams belong to Rexroth www.boschrexroth.com
DID YOU NOTICE AN ERROR? REPORT »
DID YOU NOTICE AN ERROR? REPORT
×

The error was sent. Thank you.