EXPAND MENU COLLAPSE MENU

A A10V O 45 ED 72/31L-VSC62KC3P (R902460489)

Axial piston variable pump A10V, swashplate design, open circuit, nominal pressure 280 bar, maximum pressure 350 bar. Series 31. Geometric displacement 45 cm3. Pressure controller with pressure cut-of, electrical, negative control U = 24 V. Sealing material: FKM (fluoroelastomer). Drive splined shaft ANSI B92.1a. Mounting flange ISO 3019-1 (SAE) 2-hole. SAE flange ports according to J518 Working ports UNF. Fastening thread UNF; lateral top bottom, for through drive.
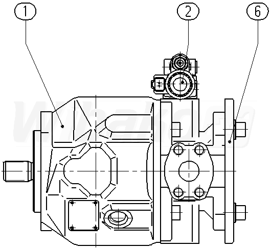
1

BASE UNIT
(113365)

Group »

 
2

CONTROL VALVE
(20142)

Group »

 
6

SEALING COVER
(60221)

Group »

 
70

SHIPPING PROTECTION
(19173)

 
71

SHIPPING PROTECTION
(19174)

 
72

SEAL SCREW
(13974)

 
75

NAMEPLATE
(15166)

 

Return

The above diagrams belong to Rexroth www.boschrexroth.com
DID YOU NOTICE AN ERROR? REPORT »
DID YOU NOTICE AN ERROR? REPORT
×

The error was sent. Thank you.