EXPAND MENU COLLAPSE MENU

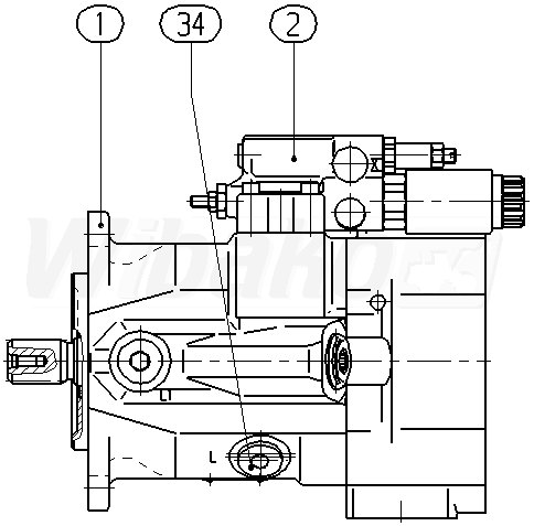
A A10V O 45ED 72 /52R-VSC12K04 -S2697 (R902474252)

Axial piston variable pump A10VO, swashplate design, open circuit, nominal pressure 250 bar, maximum pressure 315 bar. Series 52. Geometric displacement 45 cm3. Pressure controller, electric, negative control, U = 24 V. Directions of rotation: clockwise (viewed on drive shaft). Seal: FKM (fluoroelastomer). Splined shaft ISO 3019-1, standard. Mounting flange ISO 3019-1 (SAE) 2-hole. SAE flange ports, fastening thread metric, laterally opposite, for through drive. Through drive flange ISO 3019-1 101-2 (B) , hub for splined shaft 1 in 15T16/32DP.
1

BASE UNIT
(113637)

Group »

 
2

CONTROL VALVE
(108714)

Group »

 
34

SCREW PLUG
(13231)

 

Return

The above diagrams belong to Rexroth www.boschrexroth.com
DID YOU NOTICE AN ERROR? REPORT »
DID YOU NOTICE AN ERROR? REPORT
×

The error was sent. Thank you.