EXPAND MENU COLLAPSE MENU

AA11VO130LG2S/10+AA4VG56DWD/31 (R909601553)
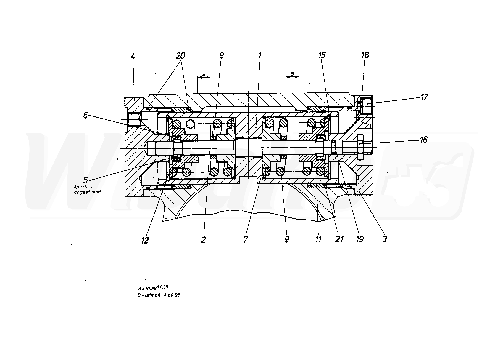
CONTROL (29636)

CONTROL
(29636)

 
1

POSITIONING PISTON
(29834)

 
2

ROD
(10852)

 
3

COVER
(29835)

 
4

COVER
(29836)

 
5

RING
(10651)

 
5

RING
(10652)

 
5

RING
(10653)

 
5

RING
(10654)

 
5

RING
(10655)

 
5

RING
(10656)

 
5

RING
(10657)

 
5

RING
(10658)

 
6

SLEEVE
(12292)

 
7

SPRING DISK
(10853)

 
8

SPACER RING
(10854)

 
8

SPACER RING
(10855)

 
8

SPACER RING
(10856)

 
8

SPACER RING
(10857)

 
8

SPACER RING
(10858)

 
8

SPACER RING
(10859)

 
9

COMPRESSION SPRING
(10860)

 
11

BUSHING
(21308)

 
12

SPRING DISK
(10862)

 
15

RETAINING RING
(10178)

 
16

HEXAGON NUT
(10645)

 
17

SOCKET HEAD CAP SCREW
(10848)

 
18

SPRING LOCK WASHER
(10777)

 
19

O-RING
(10227)

 
20

O-RING
(10849)

 
21

ROD SEAL
(29837)

 

Return

The above diagrams belong to Rexroth www.boschrexroth.com
DID YOU NOTICE AN ERROR? REPORT »
DID YOU NOTICE AN ERROR? REPORT
×

The error was sent. Thank you.