EXPAND MENU COLLAPSE MENU

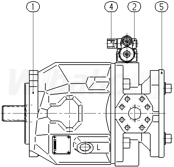
A A10VSO 71 DRG /31L-VRA12KC3 (R902465906)

Axial piston variable pump A10VS, swashplate design, open circuit, nominal pressure 280 bar, maximum pressure 350 bar. Series 31. Geometric displacement 71 cm3. Pressure controller with pressure cut-of, hydraulic, remote controlledSealing material: FKM (fluoroelastomer). Drive splined shaft ANSI B92.1a for higher input torque.
1

BASE UNIT
(130497)

Group »

 
2

CONTROL VALVE
(15470)

Group »

 
4

ADAPTER
(15471)

Group »

 
5

SEALING COVER
(60221)

Group »

 

Return

The above diagrams belong to Rexroth www.boschrexroth.com
DID YOU NOTICE AN ERROR? REPORT »
DID YOU NOTICE AN ERROR? REPORT
×

The error was sent. Thank you.