EXPAND MENU COLLAPSE MENU

A A10VSO140 FHD /31R-VPB12K01 (R902468608)

Axial piston variable pump , swashplate design, open circuit, nominal pressure 280 bar, maximum pressure 350 bar. Series 31. High-speed version. Geometric displacement 10 cm3. Sealing material: FKM (fluoroelastomer). DEUTSCH - molded connector, 2-pin, without suppressor diode.
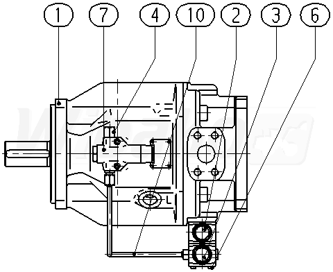
1

BASE UNIT
(133532)

Group »

 
2

CONTROL VALVE
(35999)

Group »

 
3

CONTROL VALVE
(122418)

Group »

 
4

CONTROL VALVE
(105409)

Group »

 
6

SOCKET HEAD CAP SCREW
(15901)

 
7

ADAPTER
(15471)

Group »

 
10

PIPING
(122412)

Group »

 

Return

The above diagrams belong to Rexroth www.boschrexroth.com
DID YOU NOTICE AN ERROR? REPORT »
DID YOU NOTICE AN ERROR? REPORT
×

The error was sent. Thank you.