EXPAND MENU COLLAPSE MENU

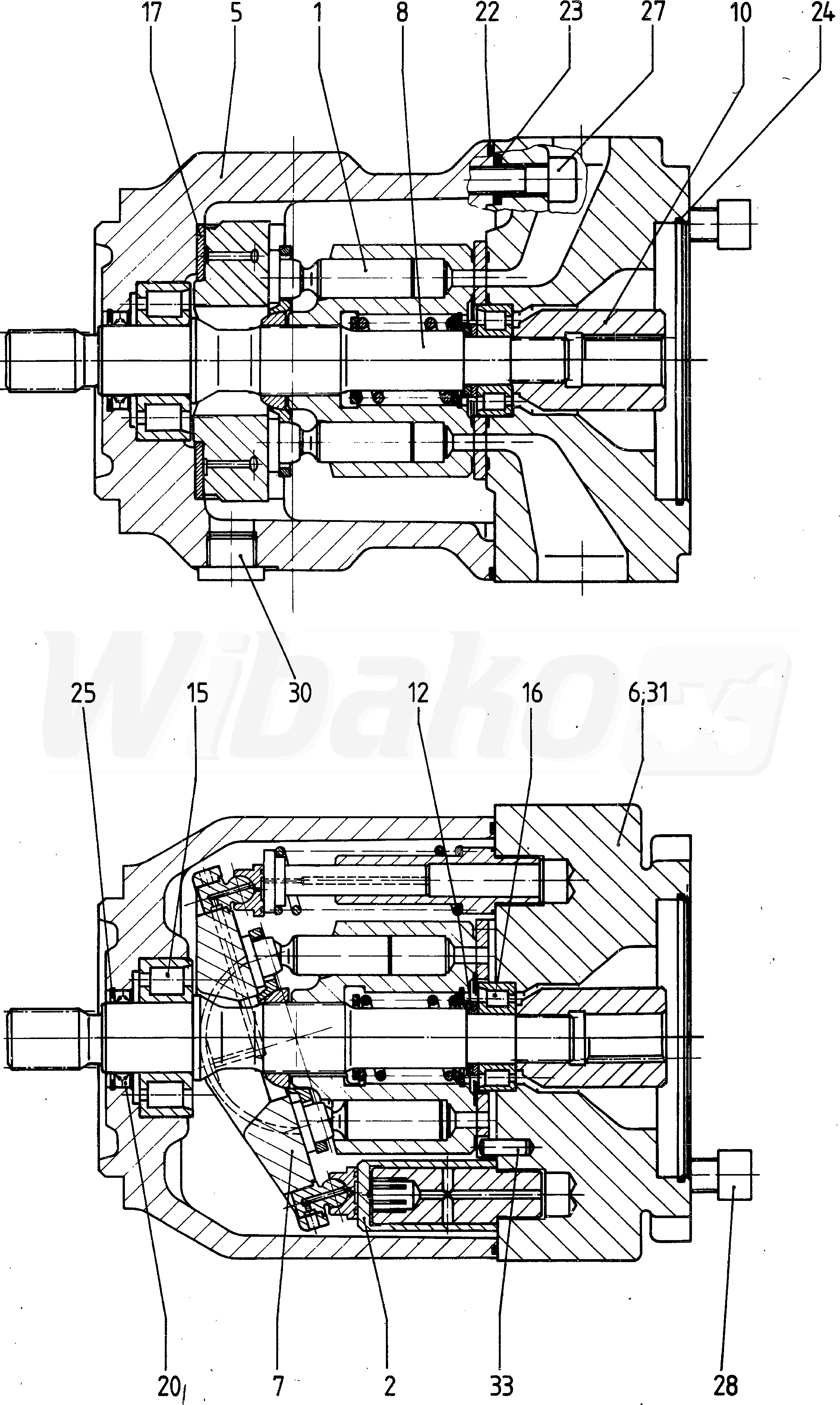
AEAA10VSO 28 DFR /31R-PKC62K40 (R902400052)
BASE UNIT (146975)

BASE UNIT
(146975)

 
1

ROTARY GROUP
(11874)

Group »

 
2

ADJUSTING PIECE
(18435)

Group »

 
5

PUMP HOUSING
(25529)

 
6

CONNECTION PLATE
(146509)

 
7

SWASH PLATE
(19606)

 
8

DRIVE SHAFT
(107479)

 
9

PARALLEL KEY
(19844)

 
10

HUB
(134862)

 
12

ADJUSTMENT SHIM
(11883)

 
15

CYL. ROLLER BEARING
(101590)

 
16

CYL. ROLLER BEARING
(101591)

 
17

BEARING SHELL
(18439)

 
20

SHAFT SEALING RING
(101592)

 
22

O-RING
(18440)

 
23

R-RING
(27107)

 
24

O-RING
(13985)

 
25

RETAINING RING
(11890)

 
27

SOCKET HEAD CAP SCREW
(11891)

 
30

SCREW PLUG
(11372)

 
31

DOUBLE BREAK-OFF PLUG
(18990)

 
33

STRAIGHT PIN
(11892)

 

Return

The above diagrams belong to Rexroth www.boschrexroth.com
DID YOU NOTICE AN ERROR? REPORT »
DID YOU NOTICE AN ERROR? REPORT
×

The error was sent. Thank you.